
特点:JR-2型矩型金属软管采用全金属结构,该产品符合JB/GQ058285企业联合标准,适应于各类金属切屑机床及切割机床防止高热铁屑对您供电、水汽线路的损伤保护劳动 。
JR-2型矩型金属软管结构与用途:
JR-2型矩型金属软管采用全金属结构,该产品符合JB/GQ058285企业联合标准,适应于各类金属切屑机床及切割机床防止高热铁屑对您供电、水汽线路的损伤保护劳动。
JR-2型矩型金属软管选形:
1、注明规格与型号如下所示:
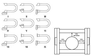
A×B×L-装配形式L-软管长度包括联接器装配形见软管装配形式图Ⅰ~Ⅸ
2、接头形式:a-c
例:25×50×1200-Ⅰ、25×50×1200-AB-Ⅲ
JR-2型矩型金属软管接头尺寸及规格参数表:
| 内径 | 外径 | C | D | E | F | G | H | L | J | K | N | P | S | X | T | F | R | 轴向拉力 (kg) | 重量 (kg/m) |
| 22×32 | 27.5×36.7 | 20 | 35 | 38 | 18 | 25 | 10 | 23 | 45 | 20 | 40 | 75 | 60 | 55 | 38 | 5.5 | 60 | 35 | 1.3 |
| 25×50 | 31.5×54.5 | 30 | 55 | 58 | 30 | 35 | 10 | 33 | 60 | 25 | 50 | 90 | 75 | 60 | 45 | 5.5 | 90 | 40 | 1.75 |
| 35×60 | 40.1×64.4 | 40 | 65 | 69 | 40 | 45 | 10 | 44 | 70 | 30 | 50 | 100 | 80 | 70 | 52 | 5.5 | 100 | 50 | 2.1 |
| 38×73 | 43.7×77.8 | 43 | 78 | 82 | 50 | 55 | 10 | 47 | 75 | 35 | 50 | 105 | 85 | 82 | 62 | 6.5 | 110 | 60 | 2.36 |
| 40×80 | 45.4×84.7 | 45 | 85 | 89 | 50 | 65 | 20 | 49 | 90 | 40 | 55 | 120 | 100 | 90 | 68 | 8.5 | 120 | 70 | 2.5 |
| 52×102 | 57×5×107.8 | 57 | 107 | 113 | 65 | 80 | 20 | 63 | 105 | 45 | 60 | 140 | 120 | 100 | 80 | 8.5 | 140 | 75 | 2.85 |
| 60×120 | 67×5×127.7 | 68 | 128 | 131 | 90 | 90 | 20 | 71 | 135 | 45 | 70 | 170 | 146 | 110 | 84 | 9 | 180 | 80 | 3.15 |
| 60×130 | 65.1×134.4 | 68 | 138 | 141 | 95 | 100 | 20 | 71 | 140 | 50 | 75 | 180 | 150 | 120 | 90 | 9 | 180 | 80 | 3.25 |
| 72×162 | 78.4×168.2 | 86 | 180 | 184 | 120 | 120 | 20 | 82 | 150 | 60 | 80 | 210 | 180 | 130 | 100 | 9 | 210 | 80 | 4.5 |

